je sius obliger de chenger de carbu pour un cite 50si tu t arraches les mains avec le 40cc
quesque ca va etre avec le 50cc a culasse !!, ca envois encore plus
Démarage kit PBU & pot zochiii
Started by Tibo.91, 10 Jul 2005 22:36
22 replies to this topic
#23
Posted 17 July 2005 - 11:20
1)met de l'essence dan le carbu puis enleve ta bougie tu tire plusieur foi avec la tirette puis sent la ou il y a le trou pour faire passer la bougie si sa sent l'essence sa devrai marcher si sa sent pas l'essance sa ne marche pas:
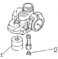
2)demonte le carbu , tu voi le floteur[2] dan les parage tu vera une vis percée(buse) [1] , tu la démonte tu soufle dedans , si l air ne sort pas tu prend une aiguille pour la deboucher , apres tu remonte tout et recomance l'etape 1) si sa ne marche pas je sais pas se que c'est mai avent de le faire attent lavi des autre parceque les carbu c'est pas tous les meme
(je trouvai pas le bon carbu donc j'ai pris un eclater c'est un carbu de brelle)
2)demonte le carbu , tu voi le floteur[2] dan les parage tu vera une vis percée(buse) [1] , tu la démonte tu soufle dedans , si l air ne sort pas tu prend une aiguille pour la deboucher , apres tu remonte tout et recomance l'etape 1) si sa ne marche pas je sais pas se que c'est mai avent de le faire attent lavi des autre parceque les carbu c'est pas tous les meme
(je trouvai pas le bon carbu donc j'ai pris un eclater c'est un carbu de brelle)
je vai me crasher
je cherche un pocket pas chere dite le moi en mp....
je cherche un pocket pas chere dite le moi en mp....
Reply to this topic

| Topic | Forum | Started By | Stats | Last Post Info | |
|---|---|---|---|---|---|
Banc géometrie 8670, valeurs potentiomètres
|
Notions de mécaniques | wuyls |
|
|
|
Changer Ampoule feu Renault megane |
Réparation mécanique, aide panne auto | Jeje42 |
|
|
|
BIP alertes ampoules défaillantes sur 207 |
Réparation mécanique, aide panne auto | cathydanslesnuages |
|
|
|
rouler sans pot |
Mécanique Pocket et Dirt Bike | boudaill |
|
|
|
Capot Peugeot 307 bloqué |
PEUGEOT et CITROEN | QUILHAC |
|
|
1 user(s) are reading this topic
0 members, 1 guests, 0 anonymous users
















